电话:0577-66996885
传真:0577-66995778
手机:13353386068
Q Q:2219968630
网址:www.bengzhan.cn
地址:浙江省永嘉县瓯北镇三桥工业区
【防爆管道增压泵,SG型管道泵】使用条件:
1、进口管水压不大于3公斤/厘米2。
2、水质为清水,不应有纤维或固体颗粒,对热水应为软水。
3、介质温度:冷水不低于0℃。
4、周围环境温度不超过±45℃。
5、电源电压为380V,部分为220V。
注意:选用时按使用介质的情况选择相应型号;对于特殊介质,订货时应特别注明,以便厂家帮助选择或特殊加工。
【防爆管道增压泵,SG型管道泵】产品用途:
SG型立式管道增压泵主要适用于高层建筑,园林喷灌,管道增压,冷热水循环,易燃易爆液体与腐蚀性液体输送及各种锅炉,供水、暖通、化工、石油管道设备配套。
(1)SG普通型管道泵(冷水)适用于高层建筑增压送水,园林喷灌、冷却塔上水、远距离输水、制冷冲洗、浴室等冷暖流水循环加压。使用温度80℃以下。
(2)SGR热水型管道泵适用于暖房、锅炉等行业的高温热水增压循环。使用温度140℃以下。
(3)SGP耐腐蚀型管道泵是输送腐蚀介质的不锈钢管道泵,适用于食品、制药、酿造、化工等行业的工艺流程中使用。使用温度100℃以下。
(4)SGB防爆型管道泵适用于石油、化学液体无腐蚀性易燃易爆液体输送。使用温度80℃以下。
(5)SGPB防腐防爆型管道泵适用于化工、化学液体等带腐蚀性易燃易爆液体输送。使用温度140℃以下。
【防爆管道增压泵,SG型管道泵】型号意义:

【防爆管道增压泵,SG型管道泵】产品简介:
SG型管道增压泵(简称:管道泵)是为了高层建筑增压送水,解决管道压力过低而研制的新式立式单级离心泵,比目前应用的卧式离心泵具有很大的优越性。由于采用先进的机械密封,电机主轴直接按装叶轮,帮有漏损少、效率高、耗电省、结构紧凑、体积小、重量轻、装修方便,并可根据扬程与流量的需要采用并串联使用等特点。该泵做为常规离心泵的换代产品,代替了多种老式泵,目前已广泛应用于各行业,已成普遍趋势。
【防爆管道增压泵,SG型管道泵】故障原因及排除方法:
.png)
【防爆管道增压泵,SG型管道泵】安装尺寸:


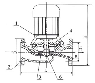
【防爆管道增压泵,SG型管道泵】结构图:
|
|
结 构 |
【防爆管道增压泵,SG型管道泵】性能参数:



【防爆管道增压泵,SG型管道泵】安装:
装配与拆卸
1.把所有待装的零部件擦洗干净。
2.在电机主轴上装机械密封,在机械密封动、静环配合的表面,加少量洁净的透平油或20号机油。
3.装叶轮,用叶轮螺母紧固。
4.装"0"型圈,把泵体与电机端盖用螺栓紧词。注意使叶轮前盖板与泵体间隙为2十0.5毫米,叶轮进口外圈与泵体保证一定的运转间隙。
5.拆卸顺序与此相反。
安装与使用
1.用橡胶垫圈与螺栓把泵体两端法兰与管路法兰连接好,即完成按装。为了使用与维修方便,在泵的进、出口管路上均应按装一只调节阀。
2.打开进口调节阀, 使水进入泵中,以保持密封腔内充满液体(否则会研损密封),关闭出口阀。
3.接通电源,点动确定正确转向。
4.转向确定后,使泵启动、运转。
5.调节出口阀开度, 使泵在设计点附近运行,据泵的额定流量和扬程附近。〔为此,*好在出口法兰附近装一只压力表)。注意:本泵严禁缺水运转,以免损坏密封件。
相关管道泵系列产品:
GW型无堵塞污水式管道泵,ISGB型便拆式管道泵,ISG型立式离心式管道泵,GDL系列立式多级管道泵,CQB-L型不锈钢磁力管道泵,GBL型浓硫酸管道泵┃立式浓硫酸泵,GBF型衬氟管道泵┃化工管道泵,SL型立式玻璃钢管道泵,ISGD型低转速立式管道泵,SG型管道增压泵。


