高温导热油泵特点及前轴承装配示意图:
发布时间:2015-10-29 9:41:38 来源:海坦泵业 点击次数:3036
导热油泵,就是输送温度较高的油的泵,分离心式、螺杆式和齿轮式,.如果从泵的构造来看,螺杆泵还可分为单螺杆泵、双螺杆泵及三螺杆泵。齿轮泵还可分为内齿轮泵和外齿轮泵,一般用于输送黏度低的油类。离心油泵是由泵壳和叶轮构成,各类水泵都属这类,用途也相当广泛。 离心式、螺杆式、齿轮式区别如下:首先从泵的原理上可分为容积式泵和回转式泵。它们各有优缺点,适合输送不同质的液体。(
1)、容积式泵是由于泵的容积变化来实现输送液体的:如螺杆泵和齿轮泵;
(2)、回转式泵是由于泵轮的回转带动液体来实现输送的:如离心泵,它对液体质要求不那么严格。 目前市面上的导热油泵的种类可谓是种类繁多.所以在导热油泵的选型上应该注意其特点、功能及实用性.
RY系列风冷高温
导热油泵是乐彩汇主要生产产品之一,其材质为铸钢,也可以根据客户要求定做成不锈钢材质,又叫导热油泵、高温导热油泵、铸钢导热油泵、导热油循环泵、风冷式热油泵、离心式热油泵、
RY热油泵、高温离心泵、高温热油循环泵 是一种高温型离心油泵又叫输油泵、热油循环泵,是一种理想的热油循环泵或作载热体输送泵,是热交换设备上理想的配套用泵。风冷式导热油泵在不同的行业中进行广泛的使用和推广良好的使用性能和优势促使导热油泵在行业中的应用在不同的环境中进行使用. 风冷式高温导热油泵具有好的优点和特点采用先进的工艺进行制作,下面介绍一下该泵的加工工艺和优越性:
(1)高温导热油泵采用自热散热结构,改变了传统的水冷却结构,使结构简单,体积小,节约运行费用,性能好,使用可靠,是我国消化吸收国外油泵的基础上研制的第二代产品,基本结构形式为单级单吸悬臂式脚支撑结构;
(2)高温导热油泵的进口为轴向吸入,出口为中心垂直向上,和电机同装于底座上。
(3)高温导热油泵的支撑采用了双端球轴承支撑的结构形式,前端采用润滑油润滑,后端采用润滑脂润滑,中间有一导油管,用以随时观察密封情况和回收导热油。
(4) RY型高温导热油泵采用填料密封和机械密封相结合的形式,填料密封用耐高温的填料,具有良好的热态适应性,而机械密封则采用机械强度高,耐磨性好的硬质合金材料,保证了高温情况下的密封性能。
(5)RY型高温导热油泵采用进口聚四氟乙烯(简称PTFE)做唇形密封,使密封性能产生了飞跃,比橡胶类密封可靠性提高25倍,耐腐蚀性能极强。
RY导热油泵(RY离心式导热油泵)在各行业得到广泛应用:
1、石油及化行业:聚合,缩合,蒸馏,精馏,熔融等:
2、塑料及橡胶行业:热压、压延、挤压、硫化成型等;
3、纺织印染行业:热定型、烘干、热熔染色等
4、油脂行业:脂肪酸蒸馏、油脂分解、脂化等;
5、建筑行业:沥青加热等。;
6、造纸行业:干燥、波纹纸加工等。
7、合成纤维工业:聚合熔融、纺丝、延伸等;
8、木材行业:多合板、纤维热压成型、木材干燥等;
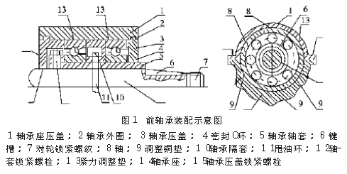
如图1为前轴承装配示意图

LQRY型高温导热油泵产品图片

