海坦牌气动隔膜泵工作原理,隔膜泵工作原理图
发布时间:2013-9-3 9:10:13 来源:海坦泵业 点击次数:3642
在使用气动隔膜泵时必须得了解掌握好气动隔膜泵工作原理,不然在延长气动隔膜泵的使用寿命上会相对缩短,了解掌握气动隔膜泵的工作原理在维修保养多种隔膜泵系列产品上也会有所帮助,因为各种隔膜泵工作原理基本都是一样的
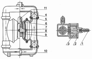
气动隔膜泵连接压缩空气后,气阀控制压缩空气推动膜片1,向右移动,同时膜片会挤压右膜腔室中的介质从而将介质排出泵腔。膜片不仅起输送介质的作用,同时在气动隔膜泵腔中起隔离压缩空气和介质。当一个膜片被压缩空气推向远离中间体时,与此同时通过连杆链接的另外一个膜片移向中间体=其中,处于高压中的连杆其作用是连接位于两个模腔室中的膜片。当膜片2移向中间体时,膜片后面的高压空气通过阀门的换向通过消音器被迫排放到外界。当膜片2移向中间气阀时,气动隔膜泵入口产生真空并通过大气压力将介质压八泵的进口中。此时,气动隔膜泵的进口阀球会被抬高而离开阀座,保证介质很轻松的通过进口管路而充八泵腔中。

当膜片1位于高压空气下时,膜片1随着冲程慢慢的移动到*大位置。同时,通过气阀控制压缩空气慢慢充人膜片2后面的空间。此压缩空气势必将推动膜片2慢慢远离中间体,通过连杆的连接,膜片1开始移向中间体。,膜片2将挤压膜腔室中介质并通过水力作用在进口处的阀球上,使得阀球和阔座的接触后而封闭进口管路。同时,同样的水力作用在出口处球阀上并提升球阀,打开出口管路。另侧的出口处球阀因压力的作用而关闭,进口处的球阀同样因压力的作用而打开,液体也就被吸入泵腔室内。
当一个冲程完成后,通过气阀的换向使得膜片1后面再次被充人压缩气体,同时膜片2开始移向中间体,膜片2后面的气体也开始通过气阀及消音器排向外界。
需要了解气动隔膜泵的产品信息可以点击气动隔膜泵查看
气动隔膜泵工作原理及气动隔膜泵工作原理图的技术文章由专业的排污泵公司上海博禹原创。
下一个:海坦牌离心泵的基本方程式
