永嘉县海坦牌生产SZ型水环式真空泵
发布时间:2013-8-7 8:48:30 来源:海坦泵业 点击次数:3404
【SZ型水环式真空泵】产品:
.jpg)
SZ型水环式真空泵有SZ-1、SZ-2、 SZ-3及 SZ-4四种规格,SZ真空泵所形成的真空度分别在86~95%之间。SZ-1及 SZ-2所能形成的压力为1.0~1.4公斤/厘米2,SZ-3及SZ-4在所配电动机功率容许下的压力为1.5公斤/厘米2,若增加电动机功率,压力为2.1公斤/厘米2。
.jpg)
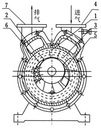
SZ型水环式真空泵由泵体(1)及两个侧盖(2)(3)所组成(图3及图4)侧盖下部有泵脚(a)支撑(图2),在上部是两管子即进气管(c)和排气管(f),这两个管子通过侧盖上的吸气孔(d)及排所孔(g)与泵腔相连,泵体上的进气管与排气管和侧盖上的吸气孔及排气孔相通,轴(4)偏心地安装在SZ型水环式真空泵体中,叶轮(6)用键(5)固定于轴上。叶轮与侧盖之间的间隙,用泵体和侧盖间的垫来调整总间隙,用轴套(17)推动叶轮,从而调整叶轮两端的间隙。此间隙决定气体在泵内由进气口至排气口流动中损失的大小。
(1).bmp)
如图1所示,叶轮①偏心地装在SZ真空泵体②内,起动时向泵内注入一定高度的水,
因此当叶片轮旋转时,水受离心力的作用而在SZ真空泵壁上形成-旋转水环③,水环上部内表面与轮毂相切,沿箭头主向旋转,在前半转的过程中,水环内表面逐渐与轮毂脱离,因此在叶轮叶片间形成空间并逐渐扩大,这样就在吸气口吸入空气;在后半转的过程中,水环的内表面渐渐与轮毂靠近,叶片间的空间容积随着缩小,叶片间的空气因此被压缩而排出。
如此叶轮每转动一周,叶片间的空间容积改变一次,每个叶片间的水好像活塞一样往复一次,SZ型水环式真空泵就连续不断地抽吸气体。
由于在工作中,水会发热,同时一部分水会和气体一起被排走,因此SZ型水环式真空泵在工作中,泵中必须不断地供给冷水,以冷却和补充泵内消耗的水。供给的冷水以15℃为宜。
当SZ型水环式真空泵排出的气体是废气时候,在排气一端接有一水箱,废气和所带的一部分水排入水箱后,气体再由水箱的出管跑掉,而水就落入水箱的底部经回水管再回到泵内使用,如果循环时间长了便会发热,这时需从水箱的供水处供给一定的冷水。
1 ~ a 底_ 2 泵w b 真空度{yT 3 水h C M夤 4 M夤 d 吸饪 5 吸饪 e 橡皮y 6 排饪 f 排夤 7 排夤 g 排饪 u M水孔
(2).bmp)
(2).bmp)
由于在工作中,水会发热,同时一部分水会和气体一起被排走,因此泵在工作中必须不断地供给冷水,以冷却和补充SZ型水环式真空泵内消耗的水。
当SZ型水环式真空泵排出的气体是废气的时候,在排气一端接有一水箱,废水和所带的一部分水箱后,气体再由水箱的出管跑掉,而水就落入水箱的底部经回水管再回到泵内使用,如果水循环时间长了便会发热,这时需从水箱的供水处供给一定的冷水。
当压缩机用时则在排气一端要接上一气水分离器,带水的气体进入分离器时便自动分开,气体山分离器的出口送到需要的地方去,而热水则经过自动的开关放出。(压缩气体时容易发热,水由SZ型水环式真空泵处出来后便成了热水),在分防离器的底部也要不断地供给冷水补充被放走的热水,同时起冷却作用。
2、气水分离器的安装:
气水分离器根据外形图安装在地基上。
若有必要改变安装位置时,应注意分离器的联结管路不得过长,转弯不得过急,否则水和气在管中流动损失必将增加,因此增加了泵排气端的压力,这样就减低了流量和真空度,增加了功率消耗。
气水分离器进口的管接头与SZ水环式真空泵出口管接头之间有一弯管(4)连接(图8、图9和图10)
.jpg)
【SZ型水环式真空泵】性能参数:
型号 真空泵吸气量m3/min 压缩机排气量m3/min 电机功率KW 转速r/min 水耗量L/min 真空度 压力MPa 泵重K 当真空度为 当压力为(K/M2) 真空泵 压缩机 0 40 80 0 0.5 1 SZ-1 1.5 0.64 0.12 1.5 1.0 - 4 5.5 1440 10 84 1 140 SZ-2 3.4 1.65 0.25 3.4 2.6 1.5 7.5 11 1450 30 87 1.4 150 SZ-3 11.5 6.8 1.5 11.5 9.2 7.5 22 37 970 70 92 2.1 463 SZ-4 27 17.6 3 27 26 16 70 80 733 100 93 2.1 975
1460
735
【SZ型水环式真空泵】说明:
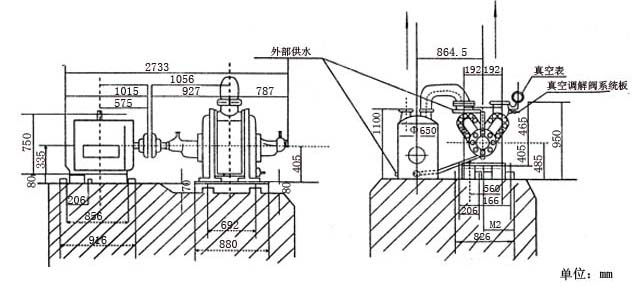
SZ-1及SZ-2作SZ型水环式真空泵如(图7)所示,作压缩机如(图8)所示,SZ-3作真空泵或压缩机如(图9)所示,SZ-4作真空泵或压缩机如(图10)所示,他们都由水环式真空泵(1),弹性联轴器,电动机(2),气水分离器(3),管路(4)及管路(5),溢水管(6)等组成。
SZ型水环式真空泵及压缩机与气水分离器的工作过程如(图11)所示。气体由管路(11)经阀门(2)进入SZ型水环式真空泵(1),然后经导气弯管(10)进入气水分离器或水箱(3)中,带水的气体在气水分离器中分离开后,气体再经阀门(9)送到需要的地方去,而水则留在水箱内,为了使箱内的水位保持一定而设有自动浮子开关(4),当水位升高时浮子升起放水阀被打开,水就从管(12)流出,当水位降低时浮子下落,放水阀被关死,这样箱内的水便能保持着需要的水位。内水环的用水是由水箱供给的,供水量的大小靠连通管(6)上的阀门(7)调正。水由泵出来到水箱内,由水箱回到泵内,循环次数多了便会发热,尤其压缩气体发热更快,这样就而要由管(5)向箱内注入冷水。有时排气量超出需要时可将阀门(8)打开进行调解。
抽气设备与压气设备的区别仅在于气水分离器的构造有所不同,在种情况下,气水分离器中的压力等于大气压,在第二种情况下则等于排气压力,故多余的水通过浮子调整器从气水分离内放走。
【SZ型水环式真空泵】安装:
1、SZ型水环式真空泵和电动机的安装:
首先将SZ水环式真空泵安装在泵座上,在安装前先动手转动一下联轴器,以证实SZ水环式真空泵内有没有卡住或其他损坏现象(整套泵的设备运抵安装地点时,包装已损坏或存放时受到潮湿,以及泵是在出厂后8个月再行安装者,应在安装前全部拆开检查清理)。
电动机固定在泵座上以后,应校正电动机轴与泵轴的同心度,当用直尺平行放在联轴器圆周上时,要求在整个圆周的任何位置都与联轴器圆周密合没有间隙,当联轴器间的轴向间隙都相等的时候,则达到了所要求的同心度(参见图12)。
电动机与泵轴,即使是极小的倾斜,也会引起轴承发热和零件的过早磨损等严重后果,若安装得正确时,当放松填料函后,用手就能轻便转动泵轴。SZ水环式真空泵的进气口处应加装过滤装置,以防颗粒状物体进入泵内。
【SZ型水环式真空泵】外形安装尺寸:
SZ-1外形安装尺寸:
(1).jpg)
(1).jpg)
SZ-4外形安装尺寸:
.jpg)
 (1).jpg)
【SZ型水环式真空泵】说明: SZ-1及SZ-2作SZ型水环式真空泵如(图7)所示,作压缩机如(图8)所示,SZ-3作真空泵或压缩机如(图9)所示,SZ-4作真空泵或压缩机如(图10)所示,他们都由水环式真空泵(1),弹性联轴器,电动机(2),气水分离器(3),管路(4)及管路(5),溢水管(6)等组成。
SZ型水环式真空泵及压缩机与气水分离器的工作过程如(图11)所示。气体由管路(11)经阀门(2)进入SZ型水环式真空泵(1),然后经导气弯管(10)进入气水分离器或水箱(3)中,带水的气体在气水分离器中分离开后,气体再经阀门(9)送到需要的地方去,而水则留在水箱内,为了使箱内的水位保持一定而设有自动浮子开关(4),当水位升高时浮子升起放水阀被打开,水就从管(12)流出,当水位降低时浮子下落,放水阀被关死,这样箱内的水便能保持着需要的水位。内水环的用水是由水箱供给的,供水量的大小靠连通管(6)上的阀门(7)调正。水由泵出来到水箱内,由水箱回到泵内,循环次数多了便会发热,尤其压缩气体发热更快,这样就而要由管(5)向箱内注入冷水。有时排气量超出需要时可将阀门(8)打开进行调解。
抽气设备与压气设备的区别仅在于气水分离器的构造有所不同,在种情况下,气水分离器中的压力等于大气压,在第二种情况下则等于排气压力,故多余的水通过浮子调整器从气水分离内放走。
